螺線型旋風—袋式組合除塵器的研究
摘要:利用自行設計和制造的螺線型旋風—袋式組合除塵器,對水泥廠生產中的揚塵點進行了半工業性試驗;并結合實際效果進行了分析。結果表明:該除塵器具有低阻、高效的特性。
關鍵詞: 除塵器,收塵效率,壓力損失
1 引言
目前,工業生產應用較多的是旋風除塵器和袋式除塵器或電除塵器組成的兩級除塵系統,雖然效果較佳,但設備一次性投資大。在我國的6000多家小型水泥廠中〔1〕,許多工廠的環保問題長期以來一直得不到解決,嚴重污染著環境;而價格昂貴的除塵設備常常使勢單力薄的小型企業望而卻步,無力購置。
針對上述問題,開發一種適合于小型水泥廠,既經濟實用、有效可靠,又不失靈活性的小型除塵器具有十分重要的現實意義。本文介紹自行研制的、適合小型水泥廠使用的螺線型旋風—袋式組合除塵器,并對其性能進行測定和研究,為設備的推廣使用提供基礎參數和數據。
2 結構和工作原理
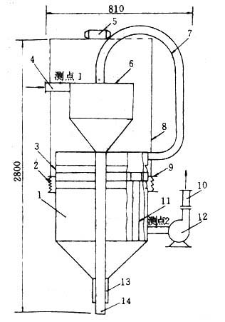
螺線型旋風—袋式組合除塵器工作原理如圖1所示。含塵氣體在系統負壓作用下,以一定速度由入口4切向進入螺線型旋風除塵器6的筒體,沿其內部的螺旋通道進行旋轉〔2〕, 依靠離心慣性力使粉塵脫離旋轉的氣流,沉積到螺旋壁上,最后經排塵管14排除收集,未被分離下來的微細粉塵由芯管7隨排出氣流到下一級袋式除塵器。粉塵被濾袋11阻隔后滯留在濾袋的內表面,當粉塵層達到一定厚度,經一定的振打周期由振動電機5通過振動支架8使濾袋發生高頻振動,抖落的粉塵經粉塵排出管13 排出收集,凈化后的氣體由風機12排入大氣。
1.袋式分離器;2.彈簧;3.軟聯接;4.氣體入口;5.振動電機;6.螺線型旋風分離器;7.芯管;8.振動支架;9.花板;10.廢氣出口;11.濾袋;12.風機;13.袋式分離器排料管;14.旋風器排料管 |
3 實驗方案和結果
本實驗采用熱態實驗。該除塵器接在水泥廠旋風預熱器后的袋式除塵器的螺旋輸送機揚塵點處。采用U形管壓力計、畢托管壓力計、DYP—81型等速煙塵濃度測定儀,分別在不同振打周期和不同進口氣速下測定其進出口的壓力、含塵濃度,以確定壓力損失、收塵效率、振打周期及進口氣速。測點位置選擇如圖1所示。實驗結果見表1、2、3、4。
表1 進口閥門開度為18°時實測數據
|
表2 進口閥門開度為36°時實測數據
|
表3 進口閥門開度為54°時實測數據
|
表4 進口閥門開度為90°時實測數據
|
3.1 振打周期的確定
根據實測結果,得到在不同振打周期下收塵效率與進口氣速的關系曲線如圖2。由圖中可見,隨振打周期的增加,除塵器的收塵效率呈增加趨勢。而當振打周期為 8min時,收塵效率的下降是由于入口氣體的含塵濃度不斷增加,加之進口氣速較高,使粉塵在螺線型旋風除塵器內分離過程中,粉塵顆粒遭到器壁“反彈”作用加強,致使進入袋式除塵器中的粉塵濃度增大,粉塵層阻力急劇增加之故。
![]() 圖2 不同振打周期下,收塵效率與進口氣速的關系 1.振打周期1min;2.振打周期2min;3.振打周期2.7min; 4.振打周期4min;5.振打周期8min |
3.2 進口氣速和壓力損失
進口氣速對除塵設備的壓力損失、收塵效率影響很大。根據實測結果繪制的壓力損失、收塵效率與進口氣速的關系曲線如圖3所示。由圖3可以看出,在進口氣速為 10~18m/s時,收塵效率在99%以上,壓力損失為1450~1910Pa。值得注意的是:壓力損失是袋式除塵器重要技術經濟指標,壓力損失過高或過低,都將影響袋式除塵器的正常工作〔3〕。另一方面,袋式除塵器阻力大小又關系到第一級除塵器能否正常工作。阻力大,使進口氣速下降過大,影響螺線型旋風除塵器的收塵效率;阻力過小,又會使進口氣速過大,使螺線型旋風除塵器“反彈”作用增加。
![]() |
圖3 收塵效率、壓力損失與進口氣速的關系
4 結論
該除塵器最佳工藝參數為:進口氣速10~18m/s;處理風量370~670m3/h;入口含塵濃度<18g/Nm3;振打周期為4min時,收塵效率大于99.4%,壓力損失1450~1910Pa。其特點是:易制造,價格低廉,結構簡單,體積小,操作方便,使用靈活。經在山東省海陽縣水泥廠的實際應用測試,效果較佳,完全可以作為小型水泥廠除塵設備使用。
參考文獻
1 江旭昌.管磨機.北京:中國建材工業出版社,1993.
2 潘孝良,趙家林.螺線型旋風除塵器的研究.中國建材,1995,(8).
3 胡國明.袋式收塵器的壓力損失及參數推算.武漢工業大學學報,1993,15(2).

使用微信“掃一掃”功能添加“谷騰環保網”