某給水廠除鐵、錳工藝設計實例
摘要:通過對設計工藝的介紹,闡述嘎巴屯凈水廠機械通風接觸式曝氣塔+無閥過濾器二級串聯處理的工藝設計及特點,闡明了設計中應注意和仍需解決的問題。
關鍵詞:曝氣塔 無閥過濾器 處理工藝 問題
三臺子礦區給水工程擔負著遼寧鐵法煤業集團公司小康礦、大平礦及礦區居住區的供水任務,設計總供水規模為18000m3/d,工程分期建設,一期楊家窩棚水源供水工程已先期投入使用,供水規模為5000 m3/d,二期二家子水源供水工程于1998年開始施工,供水規模為13000m3/d,1999年由于國家煤炭產業政策的調整與大平礦等其他礦區基建項目同時緩建,2001年10月二期給水工程恢復建設,2002年10月二期給水工程竣工投產。嘎巴屯凈水廠為集團公司三臺子礦區二期給水工程核心處理環節,設計處理規模為13000m3/d。
二期供水工程水源取自兩家子水源地,水源為第四系潛水地下水,水質鐵錳超標嚴重,設計采用了機械通風接觸式曝氣塔+無閥過濾器二級串聯處理工藝,工藝處理及污泥處理實現了全部設備化,并對無閥過濾器的設計進行了改進,污泥處理系統采用了地面式豎流沉淀器,工藝設計進行了有益、創新的嘗試。
礦區二期給水工程歷經了緩建、恢復建設兩個階段,工程狀況發生了巨大的變化。原設計兩家子水源地共10眼水源井,供水能力13000 m3/d,由于地下水資源的重新規劃,供礦區的水源僅能保證5眼水源井,供水能力6400 m3/d。而恢復建設前,兩家子加壓站1000m3水池及加壓泵房土建及設備安裝已經完成,兩家子加壓站至嘎巴屯凈水廠15.8公里DN500輸水管道已經形成,凈水廠工業場地除鐵、錳車間土建廠房與設備基礎已施工結束。如何在凈水車間廠房及設備基礎已經形成的前提下,通過設備調整對處理規模進行合理更改是設計面臨的一個新課題。設計在充分考慮現有條件的前提下,通過對曝氣塔及過濾器組數的調整,既解決了初期設備投資過大的矛盾又滿足了供水的要求,有效的解決了無閥過濾器的備用問題,適應了水量規模的調整。
嘎巴屯凈水廠已投產試運,出水鐵、錳指標符合國家生活飲用水水質標準,本文通過對設計工藝的介紹,闡述嘎巴屯凈水廠機械通風接觸式曝氣塔+無閥過濾器二級串聯處理的工藝設計及特點,闡明了設計中應注意和仍需解決問題。
1 除鐵錳工藝選擇及設計
1.1 處理工藝流程
根據除錳基理及我國多年的實驗和生產實踐,地下水除錳工藝大多采用曝氣接觸氧化法。一般采用跌水、淋水、射流曝氣、壓縮空氣、接觸式曝氣塔、機械通風曝氣塔等曝氣裝置;過濾裝置可分為壓力式和重力式兩種形式,壓力式過濾形式以壓力過濾器為主,濾料分為天然錳砂濾料和纖維濾料;重力過濾形式以濾池為主,常用的濾池形式有普通快濾池、無閥濾池等,濾料為天然錳砂濾料。
由于原水含鐵、錳指標分別為9.0mg/l、1.5mg/l,鐵錳超標嚴重,本設計根據原水水質采用重力式機械通風接觸式曝氣塔+重力式無閥過濾器二級除鐵、錳工藝,其工藝流程為:
![]() |
1.2 工藝設計及參數
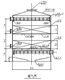
1.2.1 曝氣塔
曝氣塔采用機械通風接觸式曝氣塔,曝氣填料采用活化無毒多面空心球雙層布置。水源井來水從塔的上端均勻配水進入塔體,通過雙層空心球盡可能與填料接觸,填料下設置離心軸流風機由下至上向塔內充氧,達到對原水進行充分曝氣的作用。曝氣塔設計表面負荷為25m3/m2.h,直徑為φ3000,單臺產水量為175 m3/h,配套4-72-4型離心風機(Q=9750-14750 m3/,H=324-224mm,N=7.5KW)。由于水量規模的變化,設計由原來四臺更改為2臺。
![]() |
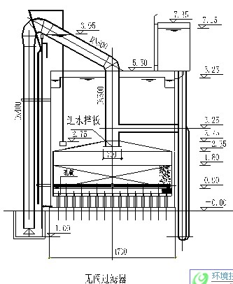
1.2.2 無閥過濾器
過濾裝置采用無閥過濾器,由于原水鐵錳含量較高,設計采用二級串聯除鐵錳工藝,原水經曝氣塔充分曝氣后重力進入一級除鐵過濾器,經一級處理后進入中間水池,經中間水池提升泵進入二級除錳過濾器。兩級過濾采用同型號無閥過濾器,濾料為連云港產的天然錳砂,三臺過濾器為一組,兩工一備,反沖洗實現水力自動反沖并輔助壓縮空氣沖洗。
![]() |
凈水車間共設無閥過濾器二組共6臺,除鐵除錳各一組3臺,單臺直徑為φ4700,每組產水量為320 m3/h,濾速為10m/h,濾料層厚為900mm,終期水頭損失為1.70m,反沖洗強度為18L/s.m2,氣沖洗強度為15L/ m2.s,配套Q=20 m3/min,H=6m鼓風機,水沖洗歷時為5min,氣沖歷時為2min。
1.2.3 反沖洗水處理系統
為避免水資源的浪費,防止高濃度含鐵、錳廢水進入礦區污水系統,影響污水處理廠的正常運行,本設計對反沖洗水進行了收集和處理。凈水車間外設置V=400 m3生產廢水池,內設HJ-1600混合攪拌機四臺,防止污泥沉淀,內設WQX50-8-2.2(Q=25m3/h,H=8m,N=2.2Kw)型潛水排污泵二臺將污泥提升至凈水車間內混凝反應池(1.5m×1.5m×1.4m),反應池設置兩座,一工一備,各設WQX50-8-2.2型潛水排污泵及反應攪拌機一臺,污泥通過提升進入豎流沉淀器,污泥處理系統設置φ3600豎流沉淀器兩座,沉淀時間為1.5h,設計表面負荷為0.0007m/s,污泥經沉淀器分離后,清水回流至中間水池,污泥進入污泥濃縮池,經污泥分級濃縮后提升至DYL-500型帶式壓濾機壓濾后泥餅外運。設置加藥裝置一套,藥劑為聚丙烯酰胺。
2 工藝設計特點
2.1 無閥過濾器用于地下水除鐵、錳處理的技術改進
無閥過濾器屬于小阻力配水系統,反沖洗壓力很難保證,在國內除鐵、錳工藝選擇中一般選擇雙閥或普通快濾池作為終端處理構筑物,本設計的設計能力為Q=13000m3/d中小型水廠,水質為鐵、錳含量較高的地下水,采用設備化的無閥過濾器在工藝選擇上確實有相當的風險。針對上述問題,本設計對無閥過濾器采取了以下措施:①為防止鐵離子穿透一級除鐵濾層,將傳統的700mm濾料層加厚至900mm;②為防止濾料板結,在承托層的上方布置了豐字型氣體反沖洗管,反沖洗時進行氣水防沖;③由于設計規模變化,原一、二級除鐵、錳各設兩組無閥過濾器,本設計改變無閥過濾器兩臺一組的習慣,設三臺過濾為一組,除鐵除錳各一組,通過過濾器水箱連通管閥門切換,三臺過濾器可任意兩臺并聯工作,當一臺設備出現濾料板結時,保留三臺同時工作的可能,為設備檢修、更換濾料、實現強制反沖提供了設計上的保證;④為實際運行管理方便,本設計在過濾器本體上設置了監視玻璃透鏡和罐內液位顯示裝置,在操作中能明確觀察每臺設備的運行狀態,清晰的觀察到反沖洗的形成和結束及效果,實現了科學管理。
無閥過濾器進行了上述改進,實現了氣水反沖、過濾裝置的交替使用,有效的解決了重力式無閥過濾器自身的缺點,工程2001年9月驗收移交以來,過濾效果良好,實現了自動反沖洗,反沖洗周期為12-48小時,出水水質鐵、錳指標分別為0.15mg/l、0.07mg/l,完全符合國家生活飲用水鐵、錳0.3mg/l、0.1mg/l的水質標準,達到了設計要求。
2.2 豎流沉淀器排泥設計改進
豎流沉淀器用于污泥處理系統的泥水分離,常規設計泥斗設在地下,排泥采用側向靜
壓排泥,由于鐵錳泥的自身特點,將泥斗設于地下極易造成污泥板結,清理有十分困難。本設計將該處理裝置完全設于地面上,排泥通過泥斗下方的排空、排泥管進行排泥,打破了常規設計的排泥方式,解決了維修、清理的實際困難,運行效果良好。
3 工藝設計體會
3.1 設計中應注意的幾個問題
3.1.1 系統超越管道的設置
含鐵、錳地下水給水工程一般均由水源地、加壓站、輸水管道、凈配水廠等工程組成,
由于輸水管道在施工竣工后必須進行清洗,管道清洗廢水含有大量泥砂,進入處理系統勢必造成濾料的堵塞甚至報廢。因此在凈、配水廠的設計中必須考慮進入系統前的超越。
3.1.2 系統動力設備的匹配
對于鐵、錳含量高而采用重力式二級串聯處理工藝的設計,必須注意水源井泵(加壓站泵)與中間水池提升泵的流量匹配,否則系統很難保證連續運行。
3.1.3 曝氣塔風機的安裝位置
曝氣塔風機吸風口的安裝必須高于底層填料布風管標高,否則當風機事故停機時會造成水的回灌而損壞風機、造成跑水事故。
3.1.4 水封井的加高
無閥過濾器水封井設計上緣一般與地面相平,由于反沖洗瞬時流量及強度很大,極易造成沖洗水濺出水封井,本工程在試運中曾多次發生冒水現象,因此在設計中應充分考慮這一點。
3.2 設計中仍需解決的問題
3.2.1 主工藝系統出水水質的檢測
由于鐵、錳等重金屬的化驗周期較長,運行中只能根據反沖洗周期的變化預測出水水質是否惡化,而通過周期法只能定性的作出分析判斷,具有明顯的滯后性,不利于出水水質的保證。如何快速定量的對出水水質作出分析判斷是除鐵、錳處理廠設計面臨的課題。
3.2.3 污泥處理系統的監測運行
本設計污泥處理系統的豎流沉淀器及污泥濃縮池無法實現泥水液面分離監測,即在實際
操作中無法觀測到沉淀器、污泥濃縮池內分層液面,致使很難準確的控制沉淀器的排泥時間,無法根據濃縮池內分層情況進行分級濃縮。如何有效的檢測泥水分離液面位置,實現科學管理與運行是污泥處理面臨的難題。
4 結語
嘎巴屯凈水廠采用機械通風接觸式曝氣塔+無閥過濾器二級串聯處理工藝處理高含鐵、錳地下水,并且凈水廠內設置完整的污泥處理系統,在國內同類型水廠中應用比較罕見。本文著重介紹了除鐵、錳車間的工藝設計及特點并總結了水廠設計中的心得和體會,由于作者水平有限,觀點難免偏頗,希望對給排水設計同行們有所啟迪和幫助。

使用微信“掃一掃”功能添加“谷騰環保網”