JBT型推進式攪拌機
![]() |
人氣:1674 發布時間:2011-08-03 15:14 關鍵詞:攪拌器 產品型號:JBT-200 應用領域:水處理 產品價格:面議 |
型號表示方法:
特點:
耗用功率小,構造簡單、運行可靠、無堵塞現象,維護簡便。
構造及工作過程 :
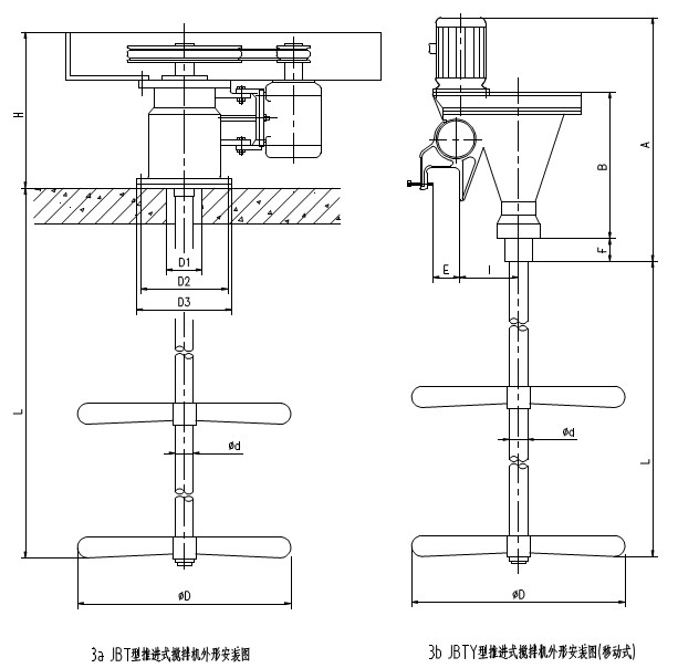
JBT型推進式攪拌機如圖所示,由攪拌軸、攪拌葉輪、軸承裝置、機座和驅動裝置組成。
電氣控制 :
按手動配置控制箱,亦可按用戶要求配置,可帶PLC接口。
1、可根據用戶的尺寸制造;
2、注明主體材質,碳鋼或不銹鋼;
3、訂貨時必須提供相關的工藝、土建資料及合同技術附件等
技術特性表:


