QJB-W型污泥回流泵
![]() |
人氣:1904 發布時間:2011-08-03 15:27 關鍵詞:污水泵 產品型號:QJB-W 5 應用領域:水處理 產品價格:面議 |
使用條件:
1.連續運行時,介質溫度不高于40℃;
2.介質PH值為6-9。
3.最大潛沒深度10m。
型號表示方法:

結構簡介:
專門設計的裝置部件和設備備件使污泥回流泵達到最佳性能。
- 電纜:電纜采用特制水密電纜;
- 接線盒:接線盒是全封閉的,與周圍液體和定子箱是隔離的;
- 電機:50Hz鼠籠式3相潛水異步電動機,F級絕緣,防護等級IP68。電機由周圍介質冷卻;
- 軸:電動機的軸采用不銹鋼材料制作,轉子作動平衡試驗;
- 密封:靜密封為O型密封圈。軸密封為機械密封,將油室與周圍介質隔離;
- 軸承:采用進口軸承,設計使用壽命可達100,000小時以上;
- 油室:油用于潤滑和冷卻機械密封摩擦副,并隔離滲透液;
- 葉輪:葉輪有三枚葉片,葉片寬而薄,表面光滑呈后掠式,高效、無阻運轉,且具有自清功能;
- 進口錐管:進口錐管的目的是為了形成最好的流動狀態;
- 排出接頭:排出接頭用于將進口錐管固定在出水管上;
- 引導裝置:引導裝置由兩根管子(導管)和上方導管夾具所組成。
產品特點
1. 按微揚程大流量專門設計,效率高;
2. 抗堵塞、纏繞,使用可靠;
3. 采用最新的密封材料,可以安全連續運行10000小時以上;
4. 結構緊湊,安裝維修方便;
5. 主機采用沖壓成形結構,體積小,精度高,耐腐蝕無噪音;
6. 內設漏電漏水及電機過載保護(報警)裝置,確保產品安全與可靠。
主要性能參數:

性能曲線:

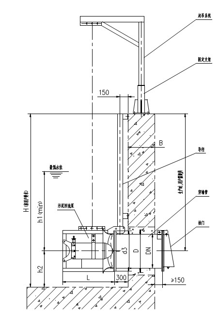
安裝:
1.正確安裝使用是該泵能長久、正常運轉的基本保證。
2.污泥回流泵采用自動耦合安裝系統,不用任何機械拆卸便可迅速提備進行檢查和維護,安裝方式快捷。
3.本設備除穿墻管需要預埋件外,導桿、起吊架均用鋼膨脹螺栓與池體連接,不需要預埋件。
4.預埋件和拍門由用戶采購后安裝,用戶定購時要注意。
鋼絲繩或吊鏈是易耗品,應定期檢查,根據腐蝕情況而定更換或維護,以確保正常使用
產品安裝尺寸:

安裝示意圖